XMSRC4392_VC1¶
4通道192KHz ASRC及768KHz SSRC音频采样率转换器集成S/PDIF收发及2路I2S主从接口
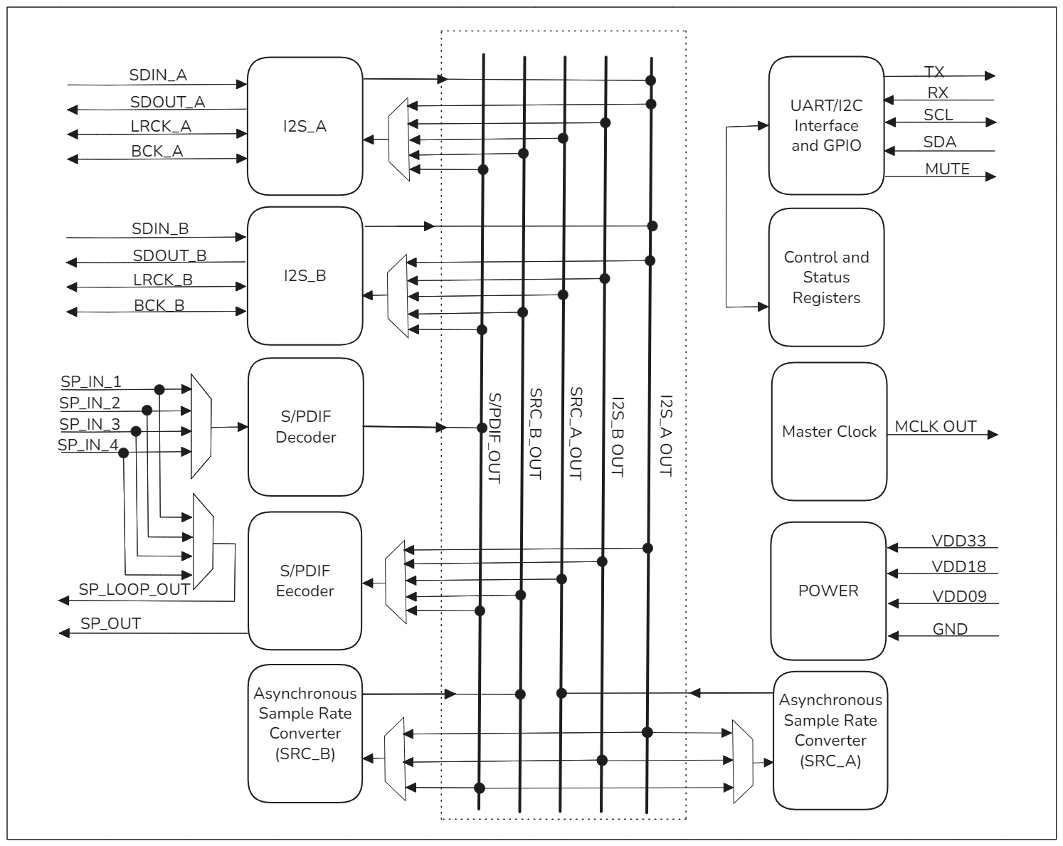
XMSRC4392是一款高性能四通道异步音频采样率转换器,采用XMOS高性能芯片,专为专业音频应用设计。相比SRC4392的两路SRC解决方案,本产品提供双倍的处理能力,同时在成本和性能方面实现了显著优化。
- 产品集成了两个独立的SRC模块(SRC_A和SRC_B),每个模块可处理两路音频信号,支持高达768KHz的超高采样率,为各种数字音频系统提供卓越的灵活性和高性能音频采样率转换。
- 支持SSRC 44.1KHz-768KHz间采样率转换,ASRC 44.1KHz-192KHz间采样率转换,支持16bit/24bit/32bit音频数据处理。
- 产品具备出色的音频性能指标,SSRC和ASRC的THD+N (@1kHz, 0dBFs)均小于等于-130dB,为音频设备制造商提供专业级的音频处理解决方案。
特性及参数¶
- 4个S/PDIF多选一输入接口
- 2个S/PDFI输出接口
- 2个I2S主从接口
- 兼容AES3, IEC 60958, and EIAJ CP-1201标准
正常工作条件
| 功能 | 最小值 | 典型值 | 最大值 | 单位 |
|---|---|---|---|---|
| 工作温度 | 0 | - | 70 | ℃ |
| 3.3V工作电压 | 3.0 | 3.3 | 3.6 | V |
| 1.8V工作电压 | 1.62 | 1.80 | 1.98 | V |
| 0.9V工作电压 | 0.855 | 0.90 | 0.945 | V |
产品尺寸 13±0.1mm(L)X13±0.1mm(W)X0.8±0.1mm(H)
文档及工具¶
| 类型 | 标题 | 下载 |
|---|---|---|
| 产品数据手册 | XMSRC4392-VC1数据手册 | [] |
| 参考设计 | [] | |
| 应用手册 | [] |
| 类型 | 描述 | 下载 |
|---|---|---|
| 调试工具 | 调试工具 |
功能对比¶
| 功能项 | XMSRC4392 | SRC4392 | 优势 |
|---|---|---|---|
| SRC通道数 | 4路 | 2路 | 2倍处理能力 |
| SRC模块数 | 2个独立模块 | 1个模块 | 2倍处理能力 |
| 最高采样率(SSRC) | 768 KHz | 216 KHz | 3.5倍性能提升 |
| 最高采样率(ASRC) | 192 KHz | 216 KHz | 相当性能 |
| 外部时钟参考 | 不需要外部时钟 | 需要外部时钟 | 节省外部晶振成本 |
| 扩展性 | 可扩展 | 无法扩展 | 更灵活 |
应用场景¶
-
专业录音棚
多轨录音设备中进行高精度采样率转换,音频工作站中处理不同采样率的音频素材,调音台系统中实现音频信号格式统一
-
广播电视
广播设备中音频信号的实时处理,电视制作中不同来源音频的同步处理,直播系统中音频信号的优化转换
-
数字音响
功放设备中音频信号的预处理,音频处理器中多通道信号转换,扬声器管理系统中信号优化
-
汽车音响
车载娱乐系统中音频格式转换,高端音响中音质优化处理,降噪系统中信号处理
-
消费电子
高端音响设备中音频信号处理,家庭影院系统中多声道处理,专业音频接口中信号转换
-
工业应用
音频测试设备中信号标准化,音频分析仪器中数据处理,专业信号处理设备中格式转换
订购信息¶
| 产品名称 | 产品型号 | 产品图片 |
|---|---|---|
| 4通道192KHz ASRC及768KHz SSRC音频采样率转换器集成S/PDIF收发及2路I2S主从接口 | XMSRC4392-VC1 | ![]() |
相关评估板¶
-
A316-HF-I2S-V1 音频采样率转换评估板
开发板通过插针方式引出XU316的接口,可以独立评估XMSRC4392_VC1的性能
